视频会议建设周期预测
项目实施计划
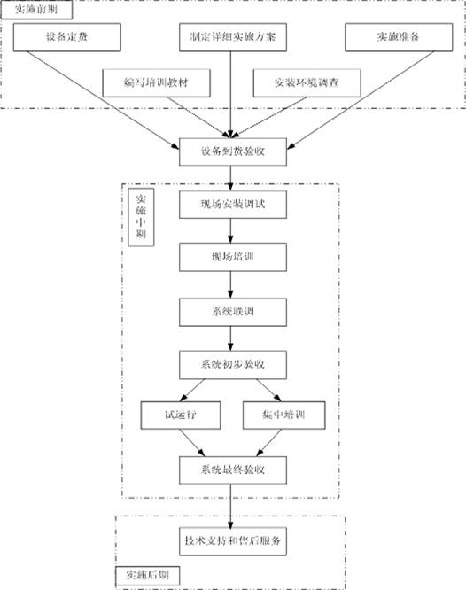
视频会议的项目实施分为实施前期、实施中期、实施后期三个阶段,同时对项目实施任务进行分解。项目到货日期通常4-6周。项目实施安装的时间按照项目规模涉及的区域也有所不同,通常全国省会范围内30天可以完成全项目的安装与调试。 项目实施各阶段关系和要完成的任务图示如下:

项目实施计划
视频会议的项目实施分为实施前期、实施中期、实施后期三个阶段,同时对项目实施任务进行分解。项目到货日期通常4-6周。项目实施安装的时间按照项目规模涉及的区域也有所不同,通常全国省会范围内30天可以完成全项目的安装与调试。 项目实施各阶段关系和要完成的任务图示如下:
